Japanese Utility Model Case Summary: 2025 (Gyo-Ke) No. 10003 – Intellectual Property High Court (September 30, 2025)
“Bed”
Overview:
This case reversed a trial decision on a registered utility model invalidation trial in which it was determined that Present Device 1 lacked novelty since there was no difference between Present Device 1 and the Device of Plaintiff’s Exhibit 1.
▶Summary of Judgment and Link to Full Text (Japanese)
Main Issue:
Whether the Device of Plaintiff’s Exhibit 1 comprises the “support legs” of Present Device 1, and whether it comprises a configuration that is “connected” with the support plate of Present Device 1.
Summary:
(1) Concerning “support legs”
- Interpretation of “support legs” in Present Device 1
(a) The term “leg” generally means “something whose shape or position resembles an animal’s leg” or “something located at the lower part of an object that serves as a support” …; and it is also recognized that, in the Japanese Industrial Standards (JIS) for ordinary household beds, the columnar member that contacts the floor surface of the bed is designated as a “leg”…. Accordingly, “support legs” in Present Device 1 should properly be understood as columnar members located beneath the mattress and supporting the mattress.
- The Device of Plaintiff’s Exhibit 1
…In the bed according to the Device of Plaintiff’s Exhibit 1, the mattress is supported by the plate-like end portions of the headboard and footboard contacting the floor surface, and there are no other columnar members that support the mattress.
Accordingly, the Device of Plaintiff’s Exhibit 1 is not recognized as comprising the “support legs” of Present Device 1.
(2) Concerning “connected”
- Interpretation of “connected” in Present Device 1
(a) “Connection” generally means “to connect; to be connected,” and “to connect” generally means “to fasten an object at one point with thread, rope, etc., so that it does not come apart,” or “to join things that are cut or separated so that they continue together”…. Further, in view of the fact that each of the present devices concerns a bed composed of a mattress and members that support it, “connected” in Present Device 1 should properly be understood to mean a state in which the mattress and a member, or members to one another, are joined so as not to separate.
- Device of Plaintiff’s Exhibit 1
(a) In the Device of Plaintiff’s Exhibit 1, the bed mattress 1 is merely placed on a mattress support board that is part of the bed frame 8, and is not joined to the mattress support board so as not to separate. Accordingly, slat 3, which is fixed to the bottom of the bed mattress 1 (corresponding to the “support plate” in Present Device 1), cannot be said to be joined to the bed frame 8 so as not to separate, and as a result, slat 3 also cannot be said to be joined to the headboard and footboard, which are part of the bed frame 8, so as not to separate.
Therefore, the Device of Plaintiff’s Exhibit 1 is not recognized as comprising the configuration of being “connected” with the support plate of Present Device 1.
(3) Comparison of Present Device 1 and the Device of Plaintiff’s Exhibit 1
…The Device of Plaintiff’s Exhibit 1 does not comprise the configuration of “support legs,” and in this respect differs from Present Device 1. Moreover, even if the headboard and footboard in the Device of Plaintiff’s Exhibit 1 were construed as corresponding to the “support legs” of Present Device 1, these do not comprise the configuration in which they are “connected” with the support plate, and therefore differ from Present Device 1.
(4) Summary
…The Trial Decision can be said to have contained an error that affected the conclusion, in that it determined there were no differences between Present Device 1 and the Device of Plaintiff’s Exhibit 1.
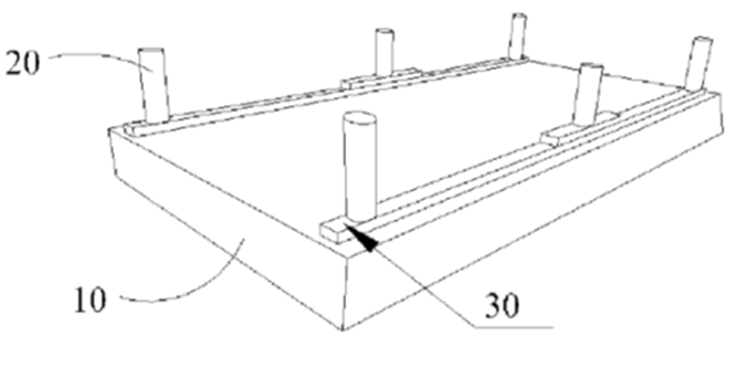
Present Device

Device of Plaintiff’s Exhibit 1
Comments:
The defendant (the requester of the registered utility model invalidation trial) argued that “legs” include not only columnar members but also plate-like members, and further that the bed mattress 1 in the Device of Plaintiff’s Exhibit 1 is not merely placed on the mattress support board but, by being surrounded on four sides, is in a state in which it does not shift position and therefore falls under “connected.” However, the court, referring to dictionary entries and the designations in the Japanese Industrial Standards, interpreted the meaning of the terms recited in the utility model registration claims, so to speak, in their ordinary sense, and did not accept the defendant’s arguments. While the meaning of the terms recited in the utility model registration claims is to be interpreted in light of the specification and drawings (Patent Act Article 70(2) as applied mutatis mutandis by Utility Model Act Article 26), in the absence of any special description in the specification or drawings, it is appropriate to interpret them in their ordinary meaning.
Norifumi KOBAYASHI