[特許/米国]異なる当事者が関与する構成要素が記載されたシステムクレームに関する判決
本稿では、利用者(subscriber)の端末とベンダーのサーバを要するシステムクレームに関する侵害の分析について議論されたCAFC(Court of Appeals for the Federal Circuit、連邦巡回区控訴裁判所)によるCloudofChange, LLC v. NCR Corp., Appeal No. 23-1111 (Federal Circuit 2024年12月18日、以下、CloudofChange判決)を紹介する。
先例性のあるこのCloudofChange判決は、顧客が操作するフロントエンドの端末と、バックエンドサーバを提供するベンダーとを含むようなよくある技術において注目すべき判決であると考えられる。
背景
CloudofChange, LLC(以下、CloudofChange社)は、NCR Corporation (以下、NCR社)によるNCR Silverと呼ばれる製品の使用は米国特許第9,400,640号及び第10,083,012号のクレームを侵害するものであると訴えた。
CloudofChange判決は、以下に示す米国特許第9,400,640号のクレーム1が議論されたものである。(強調は筆者が付加)。

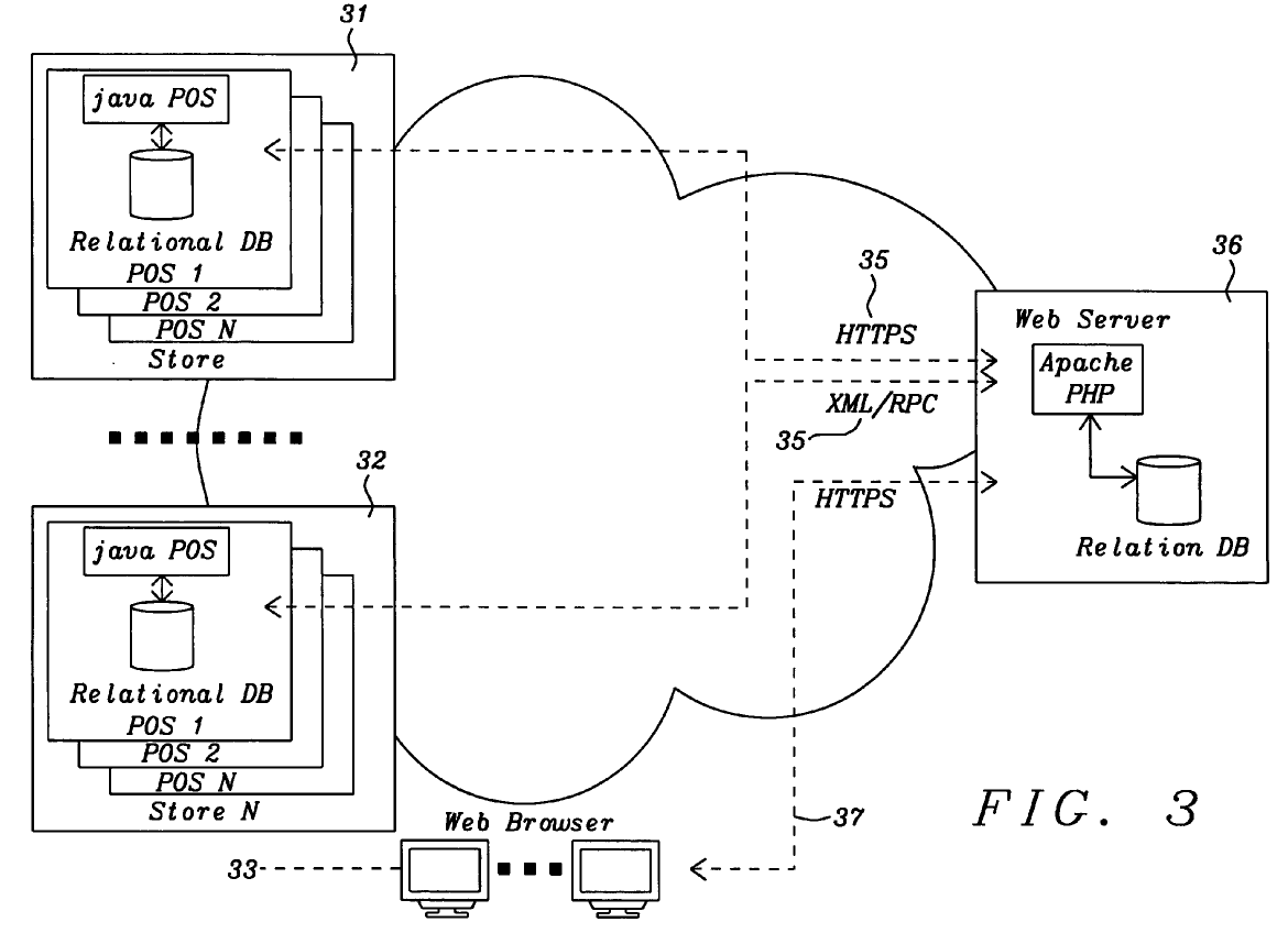
下図は対象特許のウェブベースのPOS(Point of Sale)システムの実施形態を示す図である。

クレーム及び上記の図のように、クレームに記載されたシステムは、
- ウェブサーバソフトウェア(web server software)をホストするベンダーのリモートサーバ(図面における36)
- ウェブサーバソフトウェア(web server software)にアクセスする利用者のPOS端末(図面におけるPOS 1, POS 2, etc.)
を要するシステムである。
NCR Silverは、顧客によるPOSメニューの編集、取引の実行、独自のPOS画面の構築を可能にするウェブベースのPOSソリューションである。顧客である商店等がNCR Silverを使用する際は、アプリケーションソフトウェア、タブレットやパーソナルコンピュータなどのPOSハードウェア(クレーム中のPOS端末に相当)、及びNCR社のバックエンドサーバ(クレーム中のリモートサーバに相当)へのインターネット接続が必要となる。
NCR社はクレームされたシステムを使用しているか
CAFCは、Centillion Data Sys., LLC v. Qwest Commc’ns Int’l, Inc., 631 F.3d 1279 (Federal Circuit 2011年、以下Centillion判決)に依拠して、誰がクレームされたシステムを使用しているかに関する地方裁判所の判断に同意した。具体的には、サービスにNCR Silverを利用し、顧客仕様にNCR Silverをカスタマイズし、NCR Silverによる恩恵(benefit)を受けるのはNCR社の顧客であるため、NCR社ではなくNCR社の顧客がクレームされたシステムを使用する者であるとした。CAFCは検討にあたって、「benefit」は、CloudofChange社が主張したサブスクリプション料金のような商業的利益ではなく、クレームされたシステムを利用する目的や結果に応じた恩恵に対するものであることを強調した。
NCR社は代位責任を負うのか
さらにCAFCは、顧客によるクレームされたシステムの侵害的な使用はNCR社に責任がある、つまりNCR社が代位責任を負うかどうかを判断した。
本CloudofChange判決の前審である地方裁判所は、Centillion判決を引用し、Centillion判決ではサービスプロバイダであるQwest(Centillion判決における被告)は顧客に対してクレームされたシステムを使用するように指示しておらず、顧客はQwestの代理として動いたわけではないので、顧客の行為に対して代位責任を負わないとした。一方で、Centillion判決とは対照的に本事件に関しては、顧客である商店等が自費でインターネット接続を可能にすること及び維持することを求めるNCR Silver Merchant Agreement契約により、NCR社はNCR Silverを使用するよう顧客に指示及び管理しているとした。
CAFCは、地方裁判所がクレームされたシステム中の1つの要素であるインターネット接続の指示又は管理に焦点を当てている点を取り上げて、地方裁判所の理由付けには誤りがあるとした。CAFCは、POSのメニューや画面を構築又は編集するために、NCR社は顧客がクレームされたシステム全体をサービスに利用するにあたり、顧客に指示又は管理したかどうかが問題である点を強調した。そうすることで、CAFCは、システムクレームの“使用”の分析(Centillion判決で議論)を、方法クレーム(Akamai Techs., Inc. v. Limelight Networks, Inc., 797 F.3d 1020で議論)に関するものと区別し、方法の使用は必然的に記載された各ステップを実行することを伴うが、システム全体の使用はそのシステム全体を使用すること及びシステムから恩恵を得ることを伴うと述べた。
この点に関してCAFCは、Centillion判決と同様に、NCR社はNCR Silverシステムの利用、POS端末へのNCR Silverアプリのダウンロード、又は顧客である商店等にNCR Silverシステムの機能の使用を指示又は管理しておらず、NCR社の顧客は自らの意思でこれらの行動をとっているとした。
CAFCは、顧客である商店等にインターネット接続を可能にすること及び維持することを求めるNCR Silver Merchant Agreement契約は、NCR社の顧客である商店等に、侵害であるとされたNCR Silverシステム全体を使用することを、契約上義務付けることと同義ではないことを明確にした。
CAFCの結論
CAFCは、NCR社はクレームされたシステムを使用しておらず、さらに侵害的な使用に対して代位責任を負わないと判示した。また、CloudofChange社が1つの観点からの侵害を追求し、誘発侵害(Induced infringement)、寄与侵害(Contributory infringement)及びクレームされたシステムの輸入、製造又は販売することによる直接侵害といった他の侵害の可能性を放棄した点を指摘した。誘発侵害は、35 U.S.C. §271(b)に定義されており、何人かが他の当事者に特許を侵害するよう積極的に奨励する場合に発生する。また、寄与侵害は35 U.S.C. §271(c)に定義されており、日本の間接侵害に相当する。例えば、特許を侵害する特定の製品を製造するためにのみ使用することができる特殊部品を会社が販売する場合に発生することがある。
実務上の考慮事項
CloudofChange判決は、訴訟提起の原因として間接的な特許権侵害に依拠することは、代位責任、誘発侵害、又は寄与侵害のいずれであっても、裁判で証明することが困難であることを考えさせられるという面もある判決である。そのため、米国で訴訟が発生した場合に、一の当事者、及びターゲットとなる競合他社に直接侵害の責任を課すことができるように、慎重にクレームを作成することが重要である。
例えば、ソフトウェアベースの技術に関して米国特許出願をする場合、出願人は、実際に競合他社によって製造又は販売されるソフトウェアを対象とするCRM(computer-readable memory、コンピュータ可読メモリ)クレームを含むクレームセットが一般的には有効である。さらに、システム及び方法のクレームは、単一のユーザから全て制御される、又は一のユーザによって実行される構成要素及びステップのみを明確に記載すべきである。米国特許出願は超過クレーム費用を発生させない出願のクレーム数は、3つの独立クレームを含む20クレームである中で、CRMクレームを含む様々なカテゴリのクレームセットを準備することは、競合他社によるクレームされた技術の製造、輸入、及び/又は販売に関して、米国特許権の行使に役立ち得る。
[出典]
U.S. Court of Appeals for the Federal Circuit「CLOUDOFCHANGE, LLC v. NCR CORPORATION」(PDF)